Stanchi del design di iMac, magari proprio del potente 5K 2019 oggetto della nostra prova a maggio scorso? Nel corso del tempo il computer di Apple ha cambiato più volte pelle (ha compiuto 20 anni nel 2018): ovviamente dentro, diventando sempre più potente e restando al passo coi tempi, ma anche fuori, con forme ora diventate super sottili – specie guardando il primo modello del 1998. La forma attuale è stata abbozzata per la prima volta nel 2002 con iMac G4: via il tubo catodico, benvenuto pannello LCD. E, da quell’anno, il design è stato sempre più perfezionato, sino al modello attualmente in commercio.
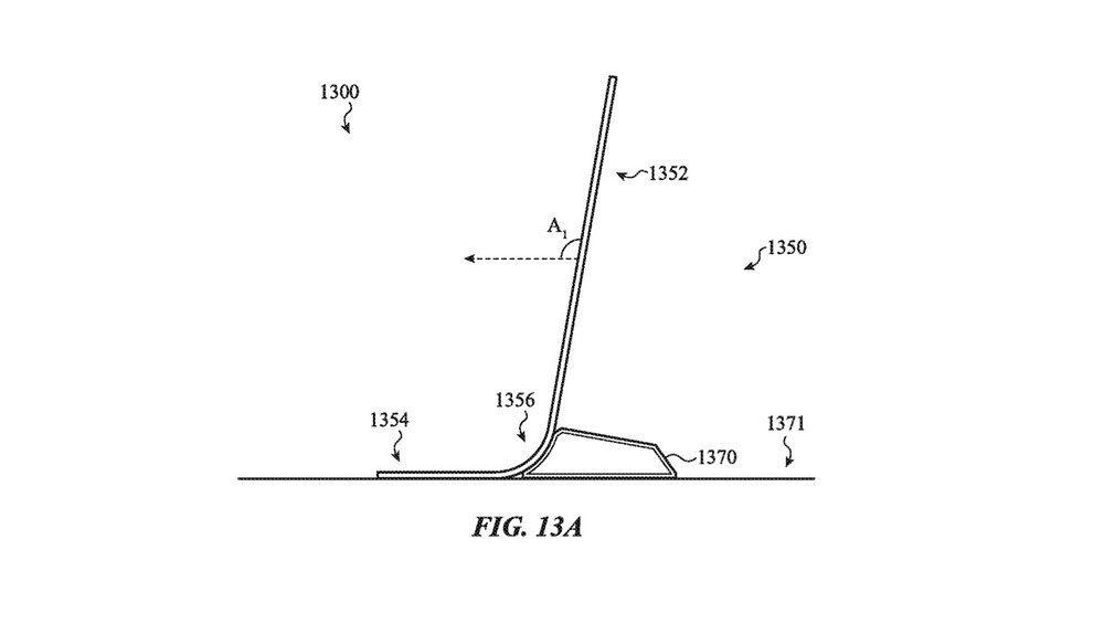
Le cose, però, potrebbero cambiare. Stiamo facendo riferimento ad un brevetto, dunque nulla di tangibile ma che comunque conferma l’interesse da parte di Apple ad esplorare possibili alternative al design odierno. Depositato a maggio dello scorso anno e pubblicato dalla USPTO appena pochi giorni fa, il brevetto US 2020/0026327 descrive un computer (possiamo chiamarlo iMac per abitudine) realizzato pressoché interamente in vetro, con il supporto che ospita il display che, scendendo, fa una curva fino ad integrare la tastiera. Per facilitarne l’equilibrio, la documentazione mostra una sorta di stand sul quale può essere incastrata la struttura.
In pratica, l’iMac è formato da
una porzione superiore che definisce un’area per il display, una porzione in basso che definisce un’area per l’input e una porzione di transizione che unisce la porzione superiore e inferiore e che definisce una superficie continua e curva tra la porzione superiore e quella inferiore
Non facciamo troppo caso alle ripetizioni e alla forma (i brevetti usano strutture linguistiche piuttosto discutibili!), ma badiamo al succo: Apple pensa a qualcosa di nuovo, di bello esteticamente, di super sottile e dai materiali pregiati.
Le ipotesi mostrate nella documentazione – disegni inclusi – sono diverse, anche se tutte partono dalla stessa struttura iniziale. Cambia la forma del modulo chiamato a sorreggere il computer, così come vengono ipotizzate diverse soluzioni per il vetro: un pezzo unico, due pezzi che possono essere ripiegati su se stessi per facilitarne il trasporto, una tastiera integrata, uno spazio vuoto per inserire una tastiera esterna o addirittura incastrare un MacBook dal retro. E parte dei componenti interni potrebbe essere posizionata all’interno del supporto stesso, porte incluse.
Come sempre sottolineiamo come si tratti di un brevetto, e non di una soluzione già in corso di sviluppo. É vero però che a quanto pare Apple stia lavorando per “svecchiare” la linea degli iMac, pensando di proporre qualcosa di innovativo per dare un ulteriore impulso ad un settore che fatica a rialzarsi: le previsioni per il 2020 non sono positive per il settore, come dicono gli analisti.

