Microsoft si è decisa a rispondere ad uno dei vantaggi oggettivi della PS5 sull’Xbox. Parliamo del controller: eh sì, è un tema spinoso e controverso, perché effettivamente per ergonomia e comodità d’uso i controller dell’Xbox (sostanzialmente invariati da due generazioni) si sono ritagliati a pieno diritto una nutrita nicchia di estimatori. Ma resta il fatto che il DualSense di Sony ha dalla sua alcune chicche che lo rendono più avanzato.
Tra queste ci sono i feedback aptici e grilletti adattivi. Entrambi assenti sul controller di Microsoft, per ora: le cose potrebbero cambiare con la prossima generazione di controller Xbox, stando a quanto anticipa un interessante nuovo brevetto scoperto da Tech4Gamers.
CONTROLLER XBOX VS DUALSENSE: FINALMENTE AD ARMI PARI?
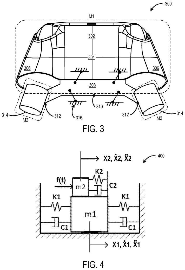
Il brevetto, intitolato “Tuning haptic feedback of a device“, descrive un controller dotato di motori aptici avanzati che non sono rigidamente fissati, come nei controller Xbox attuali, ma montati su meccanismi mobili all’interno delle impugnature. Questi motori aptici, come attuatori lineari o a bobina mobile, possono vibrare o muoversi lungo assi specifici per generare sensazioni tattili più realistiche.
La tecnologia consente di simulare una vasta gamma di effetti, come l’impatto di un colpo, la sensazione di camminare su superfici diverse o persino il rinculo di un’arma. Ad esempio, piccole vibrazioni rapide potrebbero replicare la sensazione di camminare sulla ghiaia, mentre movimenti più ampi e lenti potrebbero simulare il rinculo di un fucile.
I GRILLETTI ADATTIVI PER UN’IMMERSIONE ANCORA PIU’ TOTALE
Il brevetto descrive anche grilletti adattivi, simili a quelli del DualSense, che possono modificare dinamicamente la loro resistenza. Ciò consente di creare sensazioni realistiche, come tendere una corda di un arco o premere il grilletto di una pistola. Sensori avanzati rilevano le azioni dell’utente e regolano il feedback in tempo reale, mentre gli sviluppatori possono programmare risposte specifiche per ogni scenario di gioco.
Microsoft sembra puntare anche all’efficienza energetica: il sistema è progettato per offrire un feedback esteso senza incidere significativamente sulla durata della batteria. Un altro aspetto interessante del brevetto è la dimensione ridotta dei motori aptici, che potrebbero essere più piccoli e meno costosi da produrre rispetto a quelli attuali, senza compromettere la forza delle vibrazioni.
Che Microsoft stia valutando di dare una svecchiata al suo controller è ovviamente una notizia estremamente positiva, mentre la notizia negativa – e giova ricordarlo sempre trattando notizie di questo tipo – è che, altrettanto ovviamente, purtroppo non tutti i brevetti finiscono per vedere la luce. Non resta che incrociare le dita e sperare che il prossimo controller per Xbox e PC di Microsoft abbia tutte le carte in regola per dare finalmente filo da torcere a Sony. (Immagine in copertina realizzata con Grok, l’AI generativa di X).
